财联社9月27日讯(记者 夏淑媛) 在一级市场募资较为艰难背景下,险资正在加速布局。9月25日,大地保险联合国企混改基金等出手,参与投资隐山资本旗下股权基金;9月24日,中国人寿出资40亿元,在珠海设立一只股权投资基金;8月30,深圳市政平私募股权投资基金合伙企业(有限合伙)成立,股权穿透显示,平安人寿为背后出资人之一。

图片来源于网络,如有侵权,请联系删除
据财联社记者不完全统计,截至目前,年内保险资金下场做LP,认缴资金已超500亿元。值得注意的是,有险资人士对财联社记者表示,目前公司出手权益类资产仍较为谨慎,原因除了顾虑短期波动影响利润外,更担心在短考核周期下一时不太好看的投资收益率影响其KPI。
不过,险资“长钱长投”的关键制度正在迎来破题。就在9月26日,中央金融办、证监会联合印发《关于推动中长期资金入市的指导意见》,重点提出了持续优化资本市场生态、大力发展权益类公募基金、着力完善各类中长期资金入市配套政策制度三方面举措。北京社科院副研究员王鹏表示,《指导意见》破解考核机制和险资权益投资面临的难题,完善长期考核评估机制,丰富保险资金长期投资模式,完善权益投资监管制度,促进保险机构做坚定的价值投资者。
“耐心资本”加速布局,国寿、大地保险等险资相继出手投资私募股权基金
险资是资本市场重要的机构投资者。近期,国务院发布关于保险业“新国十条”,提出要发挥保险资金长期投资优势。
近日,国家金管总局局长李云泽在国新办发布会上表示,下一步将扩大保险资金长期投资改革试点,支持其他符合条件的保险机构设立私募证券投资基金,进一步加大对资本市场的投资力度;督促指导保险公司优化考核机制,鼓励引导保险资金开展长期权益投资。
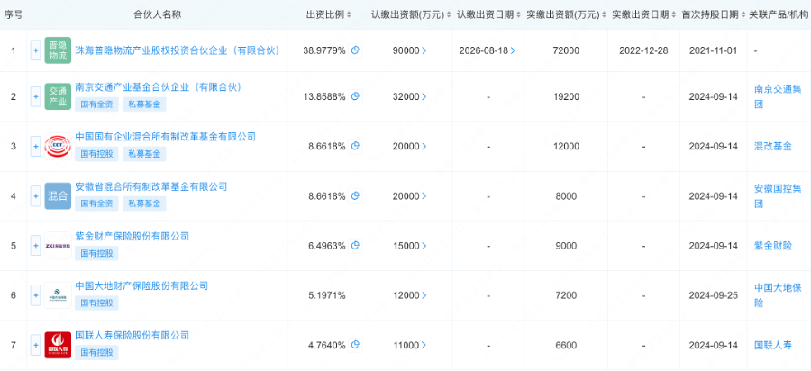
话音刚落,险资就以实际行动回应资本市场。9月25日,南京隐山股权投资合伙企业(有限合伙)发生工商变更,新增大地保险、成都高新策源启航股权投资基金合伙企业(有限合伙)为合伙人。
同时,南京隐山股权基金的出资额由22.09亿元增至23.09亿元。
而早在9月14日,紫金保险、国联人寿两家险资就已携手中国国有企业混合所有制改革基金等成为该基金的合伙人。

公开资料显示,南京隐山股权投资合伙企业成立于2021年9月,执行事务合伙人为隐山资本,其投向主要聚焦现代物流服务、数智供应链、新能源及物流供应链科技等领域。
值得注意的是,就在前一天的9月24日,中国人寿出资40亿元,在珠海市成立珠海领航鲲鹏股权投资基金合伙企业(有限合伙)。
据悉,该基金的执行事务合伙人为国寿置业投资管理有限公司,基金经营范围主要包括以私募基金形式进行股权投资、投资管理和资产管理等活动。
合伙人信息显示,珠海领航鲲鹏股权投资基金合伙企业由中国人寿及其子公司国寿投资旗下的天津领雁企业管理合伙企业(有限合伙)和国寿置业投资管理有限公司共同出资。
对于中国人寿、大地保险、紫金保险等险资的相继出手,业内人士表示,私募股权基金是保险公司资产配置的重要组成部分,主要考虑未来财务回报。此外,险资作为耐心资本的代表,进入创投市场展现了其长钱长投的特点,有助于支持战略性新兴产业和未来产业发展,助力培育发展新质生产力。
险资下场做LP认缴资金已超500亿元,监管打通制度障碍力促“长钱长投”
事实上,中国人寿出资40亿元,在珠海成立股权投资基金,以及大地保险等入伙隐山资本旗下基金,仅仅是今年保险资金活跃参与私募股权市场的一缕缩影。据财联社记者不完全统计,年内以来险资下场做LP,认缴资金已超500亿元。
8月30日,深圳市政平私募股权投资基金合伙企业(有限合伙)成立。股权穿透显示,平安人寿为背后出资人之一。
8月23日,中国人寿、全国社会保障基金理事会等共同出资成立云南新能股权投资基金,以股权投资基金形式助力云南能投引入权益资金,支持其盘活优质水电存量资产。
8月8日,苏州人保现代化产业股权投资基金合伙企业(有限合伙)在基金业协会完成备案。据悉,这一基金由人保资本联合人保财险、人保寿险、人保健康设立,是保险业内首个以建设现代化产业体系为核心目标的保险私募股权投资基金。
另有一只百亿保险系基金也受到关注。今年5月,中国人寿集团对外表示,发起设立总规模100亿元、首期规模50亿元的银发经济产业投资基金,这是保险行业首只银发产业主题的股权基金。
此外,今年以来的保险系私募股权基金至少还有2只,由国寿集团旗下的国寿金石、阳光融汇资本各登记1只。其中,阳光融汇资本担任管理人的是厦门集美区产业促进基金,已于6月初在基金业协会完成备案,规模20亿元。
在中华保险研究所首席保险研究员邱剑看来,保险资金积极入局私募股权市场,出手多只私募基金,且金额较大,这对于募资困难的一级市场而言,无疑是一股资金活水。
值得注意的是,目前保险公司在推动资金入市时仍然受限于两大痛点,中邮保险首席投资官白雪分析:一是在新会计准则下,投向权益类资产对净利润的波动影响太大;二是在偿二代二期下,不少险企受制于偿付能力充足率的压力,投资股票仍会占用较高的资本,很难放手一搏。
不过,一个显著的政策红利是,险资“长钱长投”的关键制度正在迎来破题。就在9月26日,中共中央政治局会议部署,大力引导中长期资金入市,打通社保、保险、理财等资金入市堵点,努力提振资本市场。同日,中央金融办、证监会联合印发《关于推动中长期资金入市的指导意见》,重点提出了持续优化资本市场生态、大力发展权益类公募基金、着力完善各类中长期资金入市配套政策制度三方面举措。
业内人士表示,《指导意见》提高了对中长期资金权益投资的监管包容性,通过全面落实3年以上长周期考核,打通影响保险资金长期投资的制度障碍,促进保险机构做坚定的价值投资者,为资本市场提供稳定的长期投资。
在北京社科院副研究员王鹏看来,《指导意见》破解考核机制和险资权益投资面临的难题,完善长期考核评估机制,丰富保险资金长期投资模式,完善权益投资监管制度,促进保险机构做坚定的价值投资者。
翻译
搜索
复制
(编辑:王欣宇) 关键字: